EARLY TRANSISTOR HISTORY AT RCA

H. C. Lin

Oral History – H. C. Lin

(Continued)

Oral History – H. C. Lin

(Continued)

 

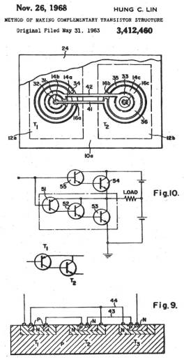
So, my boss, Harry Knowles, told us he wanted to get some of the Minuteman business away from TI.  As a result of this work, I developed and patented a structure now known as the lateral transistor. This is still used today, in almost all analog integrated circuits. The advantage of the lateral transistor is that there are only three layers required for the substrate, and so on the same chip, you can build an NPN and a PNP transistor side by side, to be used in a complementary circuit.

 

I view the lateral transistor, along with my earlier work on transistor temperature stabilization and the quasi-complementary circuit, as my most important contributions to semiconductor development. 

 

 

Dr. Lin, thanks very much for your willingness to allow this interview. I’ll conclude the Oral History with photos and additional discussion relating to your early transistor and IC work. It has been a pleasure speaking with you.

 

 

______________

 

 

 

 

 

 

Go To Lin Oral History, Page 6

 

 

              

 

This scan illustrates segments of Dr. Lin’s patent on a complementary transistor structure, also known as the lateral transistor.  This patent was assigned to Westinghouse, which is where the work was done as part of the effort to participate in the Air Force Minuteman missile program in the early 1960s.  According to Dr. Lin, this structure has the advantage of allowing complementary transistors (NPN and PNP) to be created laterally on a single three-layer silicon substrate and is still in use today in linear ICs.

 

 

______________

 

 

COPYRIGHT © 2004 by Jack Ward.  All Rights Reserved.  http://www.transistormuseum.com/

PAGE 5